Система охлаждения ваз 2110 8 клапанов инжектор...
Система охлаждения ВАЗ-2110 (23 фото): схема дл...
Радиатор Охлаждения ВАЗ 2110 2111 2112 Лузар — ...
Радиатор охлаждения для а/м ВАЗ 2110 унив 2110-...
Радиатор Охлаждения ВАЗ 2110 (после 2006г), ВАЗ...
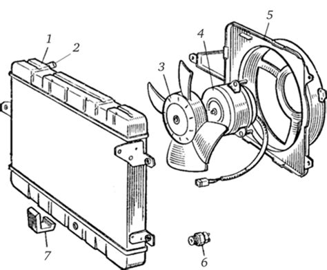
Система охлаждения ваз 2110 16 – Система охлажд...
Радиатор охлаждения ВАЗ 2110: какой лучше выбра...
Радиатор охлаждения ВАЗ 2110, 2111, 2112 алюмин...
Как отремонтировать радиатор охлаждения двигате...
Греется двигатель ВАЗ-2110 8 клапанов инжектор:...
Радиатор охлаждения ВАЗ-2110 (двухрядный, сборн...
Система охлаждения ВАЗ 2110: принцип работы и з...
Система охлаждения ваз 2110 (инжектор, 8 и 16 к...
Система охлаждения ВАЗ-2110 - УСТРОЙСТВО АВТОМО...
Двигатель ВАЗ-2110 (8 и 16 клапанов) инжектор: ...
Замена радиатора охлаждения ваз 2110 8 клапанов...
21120130101200 Радиатор системы охлаждения ВАЗ-...
Радиатор охлаждения ВАЗ 2108, 2109, 21099, 2113...
Радиатор ВАЗ-2110 алюминиевый универсальный ПРА...
Не включается вентилятор охлаждения на ВАЗ 2110...
Устройство системы охлаждения ваз-2110