Регулировочные винты (штифты) М6 под шестигранн...
Болты мебельные и регулировочные винты
Регулировочные винты с резьбой 1/4"-100
ACFS - высокоточные регулировочные винты | Купи...
Регулировочные винты для заслонок, купить
Винты регулировочные SF-138-2 на мотоблок купит...
Регулировочные винты тормозного рычага из алюми...
Где находятся регулировочные винты света фар: С...
Регулировочные винты для мебели - 85 фото
Регулировочные винты велосипедного тормозного р...
Регулировочные винты под квадрат купить в Архан...
РЕГУЛИРОВОЧНЫЕ ВИНТЫ ДЛЯ ВЫРАВНИВАНИЯ SMART BAT...
Винты Винты регулировочные с фигурной накатной ...
Винты точной регулировки | Лазерные Компоненты
10 шт. регулировочные винты тормозного троса сц...
DW SM375S регулировочные винты для крепления об...
ОСТ 26-1420-75 «Винты регулировочные, гайки и о...
DIN 69882-9 — Аксиальные регулировочные винты д...
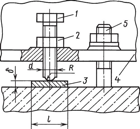
Установка, монтаж, выверка и закрепление оборуд...