вискомуфта УМЗ 4216 - Система охлаждения и сист...
Купить Привод вентилятора Газель Бизнес дв.УМЗ-...
Новая вискомуфта — ГАЗ Газель, 2,5 л, 2006 года...
Купить ГБЦ УМЗ-4216 евро-3, 4 в сборе Газ-3302,...
Купить Муфта Вентилятора Эл. магнитная Газель (...
Муфта Вязкостная (вискомуфта) Газель NEXT, Бизн...
Муфта вентилятора Газель. Электромагнитная муфт...
Привод вентилятора ГАЗель ДВС-4216 Е-4 и EvoTec...
Вискомуфта Газ Газель 3302 купить в Украине | А...
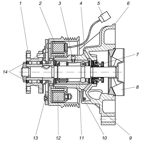
Схема подключения вискомуфты газель 4216 - Фото...
Вискомуфта газель соболь 4216 Вся Россия | Авто...
Вискомуфта бмв на газель — купить по низкой цен...
Головка Газель Бизнес 4216 с клапанами, крепежо...
Как ставить ремень на газель двигатель 4216
Привод вентилятора для автомобилей марки ГАЗель...
Купить Муфта электромагнитная (привод вентилято...
Купить Муфта электромагнитная Газель 4216 в Бер...
Привод вентилятора гидромуфта ГАЗЕЛЬ УАЗ 4216 Е...
Схема подключения вискомуфты газель 4216
Замена электромагнитной муфты вентилятора 4216 ...
вискомуфта вместо электромуфты газель бизнес со...
Вискомуфта для а/м Газель с двигателем Ивотек |...
Купить Вискомуфта (электромагнитная) муфта вент...
Гидромуфта ГАЗ-3302 ДВС EVOTECH 2,7. CUMMINS IS...
Вискомуфта Газель. Вентилятор Камминз. Вискомуф...
Электромуфта вентилятора газель бизнес (46 фото...
ПОЛНАЯ ВЕРСИЯ, РАССУЖДЕНИЯ вискомуфта вместо эл...
PR020007477 Вискомуфта ГАЗель Next дв.УМЗ-А274 ...
Вискомуфта DAF XF106 Евро 6 без крыльчатки d=27...