Мерительный инструмент
Штангенциркуль электронный 150мм
Штангенциркуль: виды, как пользоваться и считыв...
Купить модель Измерительный инструмент штангенц...
Adeeing цифровой штангенциркуль из нержавеющей ...
Цифровые штангенциркули, штангенциркуль Китай/Г...
QSTEXPRESS метрический измерительный инструмент...
штангенциркуль
Штангенциркуль | это... Что такое Штангенциркуль?
Измерительный инструмент - презентация онлайн
Штангенциркуль купить
Измерительный инструмент штангенциркуль - презе...
Цифровой разметочный штангенциркуль.
Штангенциркуль - Штангенциркули - Измерительный...
Серебряный металлический штангенциркуль прочный...
Штангенциркуль. Измерение штангенциркулем - пре...
Мерительный инструмент СССР.
Мерительный инструмент - презентация онлайн
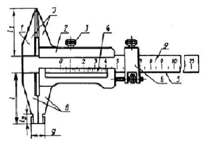
Рисунок 4.2 Штангенциркуль ШЦТ-I: 1- штанга; 2 ...
Купить штангенциркуль пластиковый 150мм в интер...
Штангенциркуль микронный тарированный - YouTube
Измерительный инструмент пластиковый штангенцир...
Штангенциркуль - презентация онлайн
Штангенциркуль - что это, виды, применение, уст...
Штангенциркули | ПромБытИнструмент
Штангенциркуль. Типы, назначение, устройство, п...
Штангенциркули
Цифровой штангенциркуль купить и цена | Goodsi.ru
Измерительный инструмент Штангенциркуль,инструк...
Мерительный инструмент ШЦ — 1 Штангенциркуль
Бюджетный 150мм электронный штангенциркуль
Штангенциркуль электронный 120мм Штангенциркули...