19 Клапан переливной
Клапан переливной 3D модель - Чертежи, 3D Модел...
Гидроклапаны переливные с обратным клапаном ПК0
Клапан гидравлический переливной DBD-H-6-K-210....
【Клапан редукционно-переливной трубного монтаж...
Клапан переливной гидрорапределителя Р-80 с пру...
Переливной клапан КПШ - цены, характеристики - ...
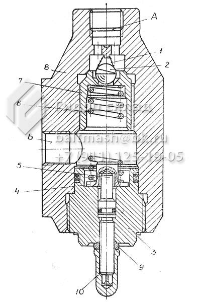
22.000 СБ Клапан переливной задание 22 Аксарин ...
Клапан переливной, YOUDRAFT.RU - скачать беспла...
Клапан переливной чертеж деталировка
Другое Сборка 19 - Клапан переливной: Инженерна...
Клапан переливной воздушного ресивера SITRAK C7...
Часто задаваемые вопросы - Переливные и регулир...
22 Клапан переливной
22.000 Клапан переливной – 3D сборка твердотель...
22.000 - Клапан переливной Вариант 22 Аксарин (...
Клапан редукционно-переливной VRP 3/8" 35-180 B...
Клапан переливной 22.000 СБ SolidWorks - Чертеж...
Variant_07
Переливные клапана
Клапан переливной 19.000 СБ - Чертежи, 3D Модел...
Клапан переливной - Чертежи, 3D Модели, Проекты...
19.000 СБ Клапан переливной Аксарин 3D-модели и...
Клапан переливной Аксарин 22 - Чертежи, 3D Моде...