Центры станочные и токарные патроны: виды, типы...
Центр токарный вращающейся КМ-5,с удлиненным но...
ВРАЩАЮЩИЙСЯ ЦЕНТР ДЛЯ СТАНКА ООО "Арматон" ⋆ КУ...
Подвижный токарный центр (центр вращения) Морзе...
ЭЛЕМЕНТЫ КОНСТРУКЦИИ ПРИСПОСОБЛЕНИЙ - ОСНОВЫ ТЕ...
ЦЕНТР ВРАЩАЮЩИЙСЯ ТОКАРНЫЙ ООО "Арматон" ⋆
Центр вращающийся на токарный станок. Виды, кон...
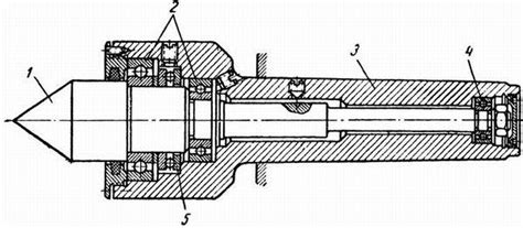
Вращающийся центр для токарного станка, разборк...
Центр токарный вращающийся грибковый Морзе 3 80...
Центр вращающийся - конструкция, применение, ви...
Вращающийся центр для токарного станка. - YouTube
Центр токарный вращающийся КМ3 купить в Москве ...
Купить Центр токарный вращающийся, удлиненный M...
Токарный центр, вращающийся MT5-D199-d79. купит...
Центр токарный вращающийся конус морзе 2 (КМ2) ...
Центр токарный вращающийся А5Н. Конус морзе 5. ...
Вращающийся центр своими руками - YouTube
Токарный центр вращающийся на км 4 купить в Кер...
Самодельный вращающийся центр для токарного - Y...
Как сделать ВРАЩАЮЩИЙСЯ ЦЕНТР для токарного ста...
Центр вращающийся токарный КМ3 купить в Москве ...
Центр вращающийся — РИНКОМ
Нормальная (н)
Центр разборный для замены вышедшего из строя п...
Центр вращения производства БИЗОН вида КМ5 8811
Вращающийся центр грибковый ООО "Инструмент Сар...
Центр вращающийся токарный Конус Морзе 3 купить...
Центр вращающийся токарный Станочная оснастка п...
ЦЕНТР ТОКАРНЫЙ УПОРНЫЙ ООО "Арматон" ⋆ КУПИТЬ О...
вращающиеся центры для токарных станков. Из Гер...
Вращающийся центр для токарного станка ТВ16 - Y...
Центр токарный вращающийся км4, бу купить в Сан...