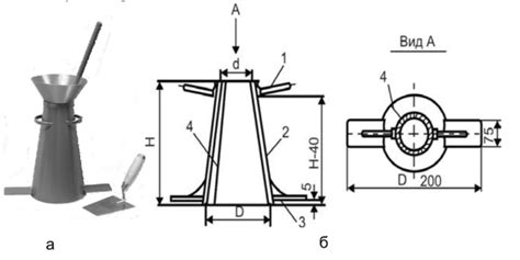
Конус Абрамса КА-1 для определения подвижности ...
8.3. Свойства бетонной смеси
3.2. Расчет расхода материалов на 1 м3 бетонной...
Определение подвижности бетонной смеси — Студоп...
Определение подвижности бетонной смеси конусом,...
Конус Абрамса для определения подвижности бетон...
Как определить наличие пустот в бетоне - 81 фото
Конус для определения подвижности бетона - осад...
Конус для определения подвижности бетона - YouTube
Подвижность бетона, Подвижность бетонной смеси
Конус КА (Абрамса) Промышленник с воронкой для ...
Осадка конуса. Определение подвижности бетона -...
Конус для определения подвижности бетона с воро...
Купить Конус для определения подвижности бетона...
Осадка конуса бетонной смеси. Влияет ли осадка ...
Подвижность бетонной смеси: показатели и способ...
ОСНОВНЫЕ МЕТОДЫ ИСПЫТАНИЙ БЕТОНА, Определение с...
Осадка конуса бетонной смеси
Подвижность бетона
Свойства Бетонной Смеси И Бетона
Конус для определения подвижности бетона
Как залить конус из бетона - 84 фото
Конус КА-Н для определения подвижности бетона (...
Конус КА для определения подвижности бетона (ко...
Конус с воронкой промышленник для опред подвижн...
podvijnostkonus
Определение марки бетонной смеси по осадке кону...
Экспериментальная проверка расчетного состава б...
ОСАДКА КОНУСА. Определение подвижности бетона #...