Купить Деревянный экран для изготовления бумаги...
Купить Обучающий ремесленный инструмент, форма ...
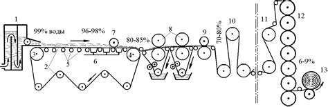
1.4.2. Отлив бумаги.
Формовочные сетки для изготовления бумаги | Heh...
Изготовление сетки рабица в домашних условиях в...
Сетка для изготовления мочалок - размеры на зак...
Лоток для бумаги металлический вертикальный "Се...
Изготовление бумаги своими руками - Все о бумаге
Рамка (экран) для изготовления бумаги из макула...
Сетка для изготовления кринолина,белая, 10 метр...
Изготовление сетки рабицы в домашних условиях в...
Сетка для трафаретной печати
Купить Вырезанная из бумаги 3D сетка соты 20смх...
Сетка декоративная из бумаги в рулоне купить в ...
Оформляем букет своими руками сетка
Розовый Янь сетка руководство для бумаги складн...
Многоразмерный инструмент для рукоделия, обучаю...
Рамка (экран) для изготовления бумаги ручного л...
Производство сетки. Технология и оборудование д...
Фасадная сетка для изготовления ограждений - Сл...
Набор для изготовления бумаги из сетчатой ткани...
Сушильная сетка для производства бумаги для печ...
Корзина для бумаг, сетка металлическая, квадрат...
Сетка для изготовления клеток. Какую использую ...
Формующие сетки для изготовления бумаги для печ...
Как сделать забор из сетки рабицы своими руками...